
Chemical engineering professor Paul Scovazzo (third from left) receives a $5,000 development grant from the Mississippi Development Authority during a ‘Pitch in the V-Quad’ competition in August. Joining Scovazzo are (from left) Bill Ashley, MDA director of business research and workforce development; Sumesh Arora, director of MDA’s Energy and Natural Resources Division; and Joe Donovan, MDA director of technology, innovation and entrepreneurship. Submitted photo
OXFORD, Miss. – A University of Mississippi engineering professor’s invention is part of a Mississippi Development Authority grant program that seeks to commercialize energy- and agriculture-related technologies.
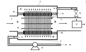
Chemical engineering professor Paul Scovazzo and brother Anthony Scovazzo are patent holders for a humidity control system in air conditioners that could lead to more efficient AC systems and healthier indoor environments in both commercial and residential buildings.
The brothers’ vacuum sweep dehumidification system was chosen as a project for the inaugural cohort of the Mississippi V-Quad Incubator Network by the Mississippi Development Authority. Through MDA, the project received a $5,000 development grant.
The mission of the V-Quad program is to build an innovative, virtual incubator network to support Mississippi entrepreneurs and innovators launching businesses focused on energy- and agriculture-related technologies.
“Many technologies developed in university research have difficulty in transitioning to application,” said Paul Scovazzo, an adjunct research associate professor of chemical engineering who joined the Ole Miss faculty in 2003. “The mentoring and aid that comes with being part of the cohort helps with the transitioning of our technology.
“I am also pleased that the funding provides an educational opportunity for a University of Mississippi undergraduate in manufacturing research and development.”
The vacuum sweep dehumidification system was issued a U.S. patent earlier this year. The apparatus features a new method and design for improved removal of water vapor from the air that results in overall energy savings to an AC system, as removing water vapor from the air is a major factor in how much energy it takes to keep a home or business cool and dry.
The system has an expected energy savings of up to 86%.
This technology can be used with existing commercial, industrial or residential air conditioners, as well as new construction. The system also can be effectively used in confined, small or hard-to-access spaces.
“The technology can improve upon AC and dehumidification/drying operations in residential, commercial and industrial spaces,” Paul Scovazzo said.
The Scovazzo brothers were inspired to invent their system after discussions with leaders in the industry that produces membrane-based separation systems. They also talked with leaders in the heating, ventilation and air conditioning industry about unmet needs in AC applications.

Chemical engineering professor Paul Scovazzo and brother Anthony Scovazzo are patent holders for a humidity control system in air conditioners known as a vacuum sweep dehumidification system. The system could lead to more efficient AC systems and healthier indoor environments in both commercial and residential buildings.
Academic studies and laboratory experiments have indicated that the technology can meet an unmet need in the marketplace, but there is always a risk involved in scaling an idea to a new product that will be commercially adopted.
“Without commercially viable prototypes, this risk will remain,” Paul Scovazzo said. “Therefore, the accelerator program is assisting in our commercial/business development via the production of viable commercial prototypes for long-term testing at commercial facilities using actual process streams.
“Before the production of viable prototypes, the risk multiplier for cost-benefit analysis could result in a negative commercial evaluation of the technology’s economics.”
These studies allow the team to identify limitations of the humidity control system and develop solutions before the construction of large-scale systems.
Alex Lopez, a UM assistant professor of chemical engineering, served as principal investigator on the MDA award.
“The accelerator program serves as a great resource for innovation within Mississippi,” Lopez said. “This program connects inventors at UM and across the state with experts in business to mature their ideas toward commercial success”
The university’s Office of Technology Commercialization informed the Scovazzos of the V-Quad opportunity, and that office, along with marketing specialist Derek Stephens with the Mississippi Small Business Development Center, assisted in the development of the grant proposal. The two organizations shepherded the patent application to success, as well.
Also, Ole Miss students helped the inventors build earlier test modules and test beds of the system.
With the vacuum sweep dehumidification system’s patent in place, proof-of-concept testing has been performed, and the university is seeking a development and commercialization partner for the system.
The project is just one example of how the university is focusing on economic development in the knowledge and technology economy for the state, said Allyson Best, director of the Office of Technology Commercialization.
“MDA is a strong partner of the University of Mississippi, and together, we are helping grow Mississippi’s entrepreneurial network,” Best said. “It’s exciting to see a UM technology be included in this great program from MDA that will advance the state’s knowledge-based economy.”
The university’s McLean Institute for Public Service and Community Engagement partnered with MDA to facilitate a virtual live event, “Pitch in the V-Quad,” from the Hyatt Place Jackson-Ridgeland in August, where teams presented their products or services.
The Scovazzos’ invention is among 10 inaugural projects for the V-Quad program, which was created by the MDA to produce public-private partnerships connecting Mississippi’s research universities, industry, government and nonprofits to form a tech-based entrepreneurial network.
Some of the other awarded projects include recycling roofing shingles and producing biomass-based graphene nanomaterials using renewable and sustainable by-products from the wood product industry.
V-Quad is one of 20 nationwide Energy Program for Innovation Clusters prize winners, a U.S. Department of Energy program to recognize innovative and significant incubators focused on developing strong regional innovation clusters for energy-related technology and entrepreneurship.